The Product
The Problem
A full-time plumber by trade and a lifelong creative thinker, Mr. Curley is the type of person to act on his ideas by building them himself. And that’s precisely what happened when he started to take notice of the problem of broken mail posts in his native New England. In that region, snowplows sometimes pack in so much snow around the mailboxes that the attached posts snap from the pressure. Of course, the same problem affects all the other parts of the country that receive significant snowfall too.

A Mailbox Post Surrounded by Snow Packed in by a Snowplow
Many of the posts are “anchored” by essentially burying the bottom portion into concrete while some others are held in place by large metal stakes. Mr. Curley realized that these inflexible structures, instead of protecting the posts, were contributing to both the frequency and the severity of the damage sustained by these posts during the winter. Indeed, the damaged base structure often needs to be removed, with fresh concrete poured – or soil dug – around a brand-new mailbox post.
The repairs pertaining to a post anchored by a metal stake can be less onerous, but they still usually require a full replacement of the mailbox post and considerable time securing it in the ground again (e.g. digging around the post, testing for stability, etc.). Taking this all in, Mr. Curley’s sense was that, with the right mechanism in place, severe damage to many of these posts and, by extension, the underlying supporting structures, could be avoided – even if unrelated to snow, such as direct impact of a vehicle accidentally hitting a post. As it turns out, he was entirely correct.


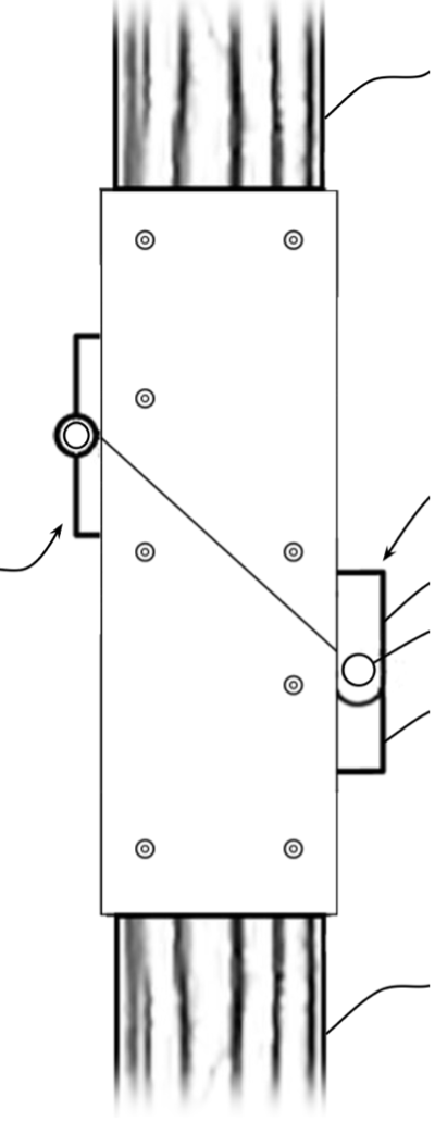
Patent Drawings Depicting the Front (L) and Side (R) Views of The Post-Preserver Hinge
The Post-Preserver Solution
That mechanism, which he invented, successfully preserves the posts (hence the name), along with the mailboxes they support and the support structures in the ground. This ingenious innovation keeps each post steady and stable in normal conditions but is ready to fold and thereby prevent permanent fractures/damage, once a certain level of pressure is exerted on it.
As the heart of the mechanism is a hinge that, as long as a pin has been placed in it, keeps the structure erect. However, with too much pressure, the easily replaceable and inexpensive pin breaks permanently but nothing else does -- including the structure itself, support structures, etc. -- due to the folding mechanism.

A Front View Photo of the Inventor’s Prototype of the Hinge
It is worth reiterating that the pin in the hinge’s coupling (visible in the side view of the hinge above and featured in the image on the right) is the only thing that breaks when a lot of pressure is exerted on the post. Then, after the pin breaks, the post folds. Subsequently, all one does to restore the full appearance and the full function of the post is to bring the folded upper portion back into alignment with the lower portion and then place a new pin in the coupling.

Product Benefits
Application of The Post-Preserver translates to the following benefits:
- Minimize Mailbox Post Damage from Multiple Sources (snow, direct hits from vehicles, etc.).
- Eliminate the Expense of Post Repair: In almost all instances, all that is needed is replacing one broken pin with another. Each pin costs a few bucks, at most, essentially nothing compared to hundreds of dollars spent on replacing the post and possibly pouring new concrete at the base and so forth.
- Eliminate the Time and Effort of Post Repair. The process of pulling out the broken pin, setting the post upright and then inserting a new pin takes something like twenty seconds. Again, this is essentially nothing when contrasted with the substantial number of hours that it can take to shop for a replacement post and install it, not to mention possible repairs to the concrete base. And again, even the replacement of metal posts can be quite cumbersome and may involve support structure work.



